Global
EN
行业方案
技术支持
技术支持
超过千家合作客户,17年服务经验,从选型到技术支持我们都能为您提供
可持续发展
可持续发展
持续创新、引领行业进步是我们不屈的使命。
新闻&资源
新闻&资源
时刻与您分享我们的一点一滴
关于我们
关于我们
音特电子集技术研发、芯片制造、封装测试、销售和服务于一体
人才发展
人才发展
一同释放潜力,塑造人类健康未来
行业方案
注重客户方案需求,量身定制解决方案,帮您提升产品核心竞争力

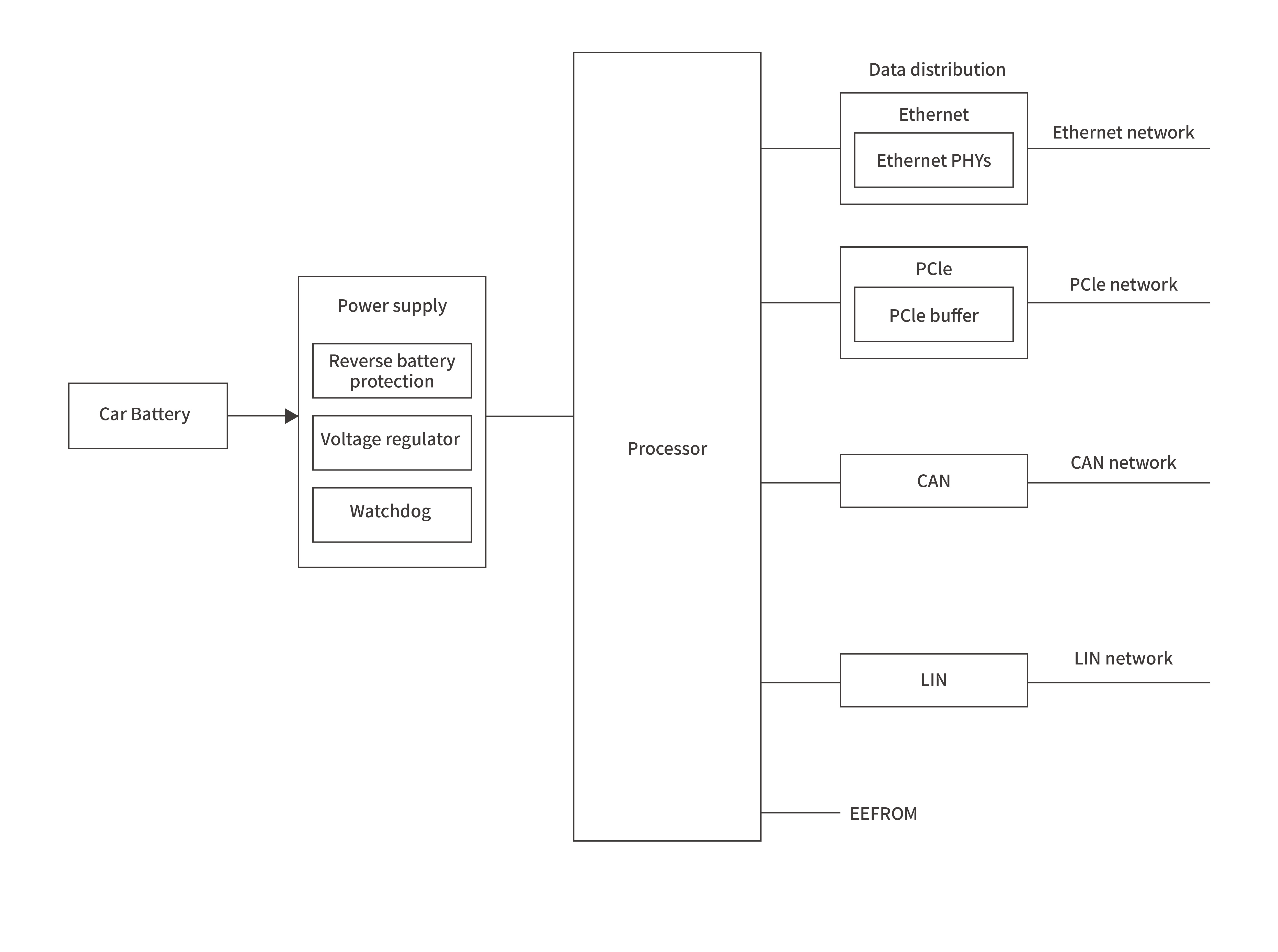
域网关

域网关是车内数据交换的高速枢纽。针对 CAN、LIN 及车载以太网接口,我们提供了超低电容、高强度的 ESD 保护阵列。我们的方案确保了各域之间的数据流在高速传输过程中无损、抗干扰,保障了整车电子架构的骨干链路安全。

应用框图
查找适用于您系统的产品和参考设计
域网关应用框图

产品

技术文档

Tvs 瞬态抑制二极管 (1)

SM8K33CA

-- 8000W 表面贴装瞬态电压抑制二极管,符合 AEC-Q101

Tvs 瞬态抑制二极管 (1)

SM8K33CA

-- 8000W 表面贴装瞬态电压抑制二极管,符合 AEC-Q101

Esd 静电保护元件 (1)

ESDLC5V0D8B

-- 双向 3.5 pF、5 V、±25 kV ESD 保护二极管,采用超小型 DFN1006 封装

Esd 静电保护元件 (1)

ESD0524P

-- 用于超高速接口的 4 通道、0.35pF、±15kV 静电保护 ESD 保护二极管阵列

Esd 静电保护元件 (1)

ESDLC5V0D8B

-- 双向 3.5 pF、5 V、±25 kV ESD 保护二极管,采用超小型 DFN1006 封装

Esd 静电保护元件 (1)

ESD24VAPB

-- 具有 ±30kV ESD 保护功能的汽车级、双通道、24V CAN 总线瞬态电压抑制 (TVS) 二极管阵列

Esd 静电保护元件 (1)

ESD24VAPB

-- 具有 ±30kV ESD 保护功能的汽车级、双通道、24V CAN 总线瞬态电压抑制 (TVS) 二极管阵列

Esd 静电保护元件 (1)

ESDLC5V0D8B

-- 双向 3.5 pF、5 V、±25 kV ESD 保护二极管,采用超小型 DFN1006 封装