Global
EN
行业方案
技术支持
技术支持
超过千家合作客户,17年服务经验,从选型到技术支持我们都能为您提供
可持续发展
可持续发展
持续创新、引领行业进步是我们不屈的使命。
新闻&资源
新闻&资源
时刻与您分享我们的一点一滴
关于我们
关于我们
音特电子集技术研发、芯片制造、封装测试、销售和服务于一体
人才发展
人才发展
一同释放潜力,塑造人类健康未来
行业方案
注重客户方案需求,量身定制解决方案,帮您提升产品核心竞争力

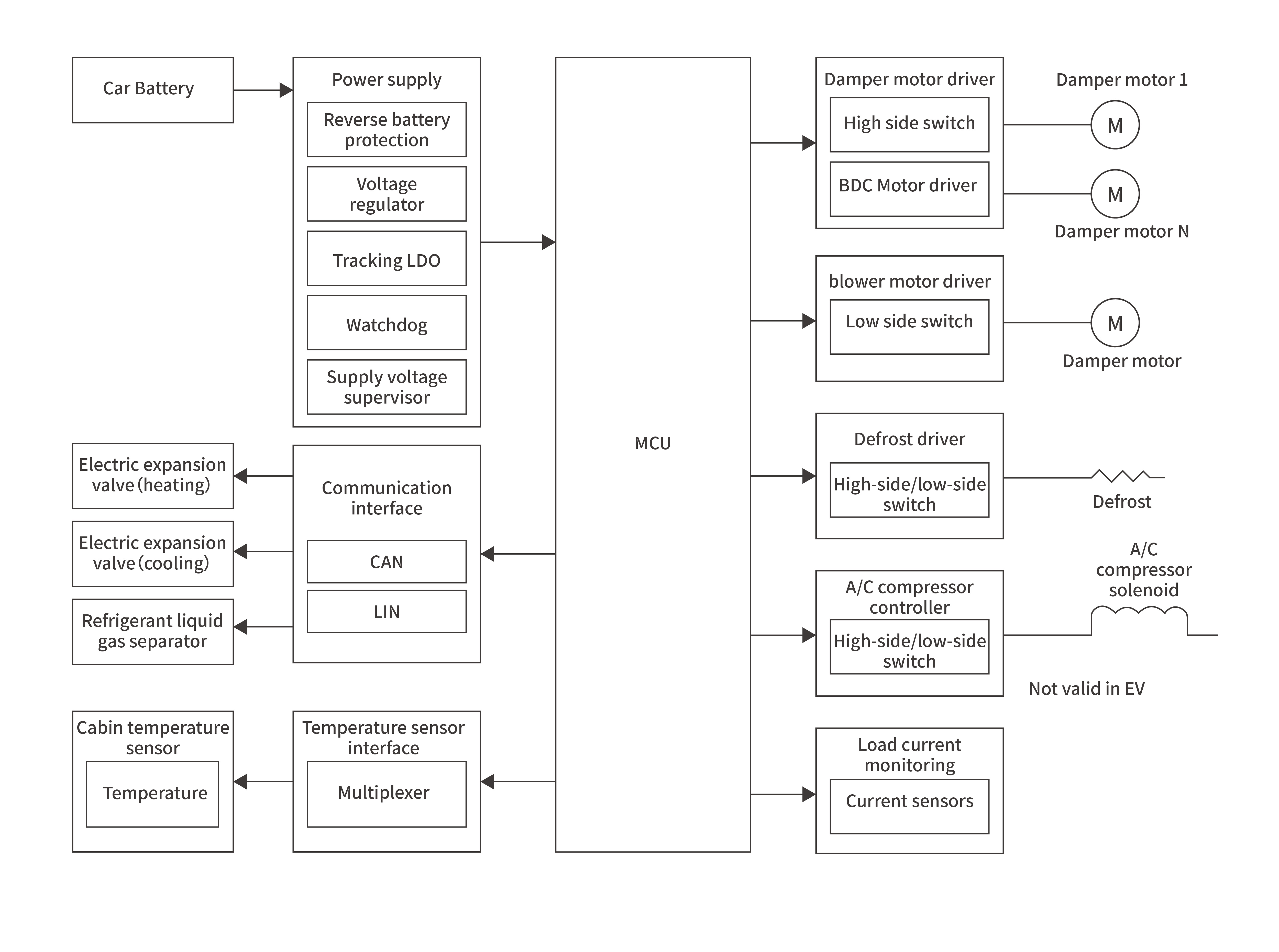
热泵模块

热泵模块是新能源汽车高效制热与能量回收的核心。针对热泵驱动器的高压特性,我们提供了高等级的浪涌抑制与功率管理支持。我们的车规级防护方案确保了控制电路在复杂的热循环调节中免受电气噪声影响,保障了整车热管理系统的高效能转换与长效稳定。

应用框图
查找适用于您系统的产品和参考设计
热泵模块应用框图

产品

技术文档

Tvs 瞬态抑制二极管 (1)

SM8K33CA

-- 8000W 表面贴装瞬态电压抑制二极管,符合 AEC-Q101

这里输入产品id 格式:{switch} (5)

Tvs 瞬态抑制二极管 (1)

SMBJ24CA

-- 双向、24V、600W 高可靠性TVS 二极管,采用SMB (DO-214AA) 封装

Esd 静电保护元件 (1)

ESDLC5V0D8B

-- 双向 3.5 pF、5 V、±25 kV ESD 保护二极管,采用超小型 DFN1006 封装

Zd 稳压二极管 (1)

Tvs 瞬态抑制二极管 (1)

SMBJ5.0CA-H

-- 双向、5V、600W 高可靠性TVS 二极管,采用SMB 封装

Esd 静电保护元件 (1)

Esd 静电保护元件 (1)

ESD24VAPB

-- 具有 ±30kV ESD 保护功能的汽车级、双通道、24V CAN 总线瞬态电压抑制 (TVS) 二极管阵列

Esd 静电保护元件 (1)

ESDLC5V0D8B

-- 双向 3.5 pF、5 V、±25 kV ESD 保护二极管,采用超小型 DFN1006 封装

Zd 稳压二极管 (1)

Tvs 瞬态抑制二极管 (1)

SMBJ36CA-H

-- SMBJ36CA-H

Esd 静电保护元件 (1)

Sbr 肖特基二极管 (1)

Tvs 瞬态抑制二极管 (1)

SMBJ36CA-H

-- SMBJ36CA-H

Esd 静电保护元件 (1)

Sbr 肖特基二极管 (1)

Tvs 瞬态抑制二极管 (1)

SMBJ36CA

-- SMBJ36CA

这里输入产品id 格式:{switch} (5)

其他相关