Global
EN
行业方案
技术支持
技术支持
超过千家合作客户,17年服务经验,从选型到技术支持我们都能为您提供
可持续发展
可持续发展
持续创新、引领行业进步是我们不屈的使命。
新闻&资源
新闻&资源
时刻与您分享我们的一点一滴
关于我们
关于我们
音特电子集技术研发、芯片制造、封装测试、销售和服务于一体
人才发展
人才发展
一同释放潜力,塑造人类健康未来
行业方案
注重客户方案需求,量身定制解决方案,帮您提升产品核心竞争力

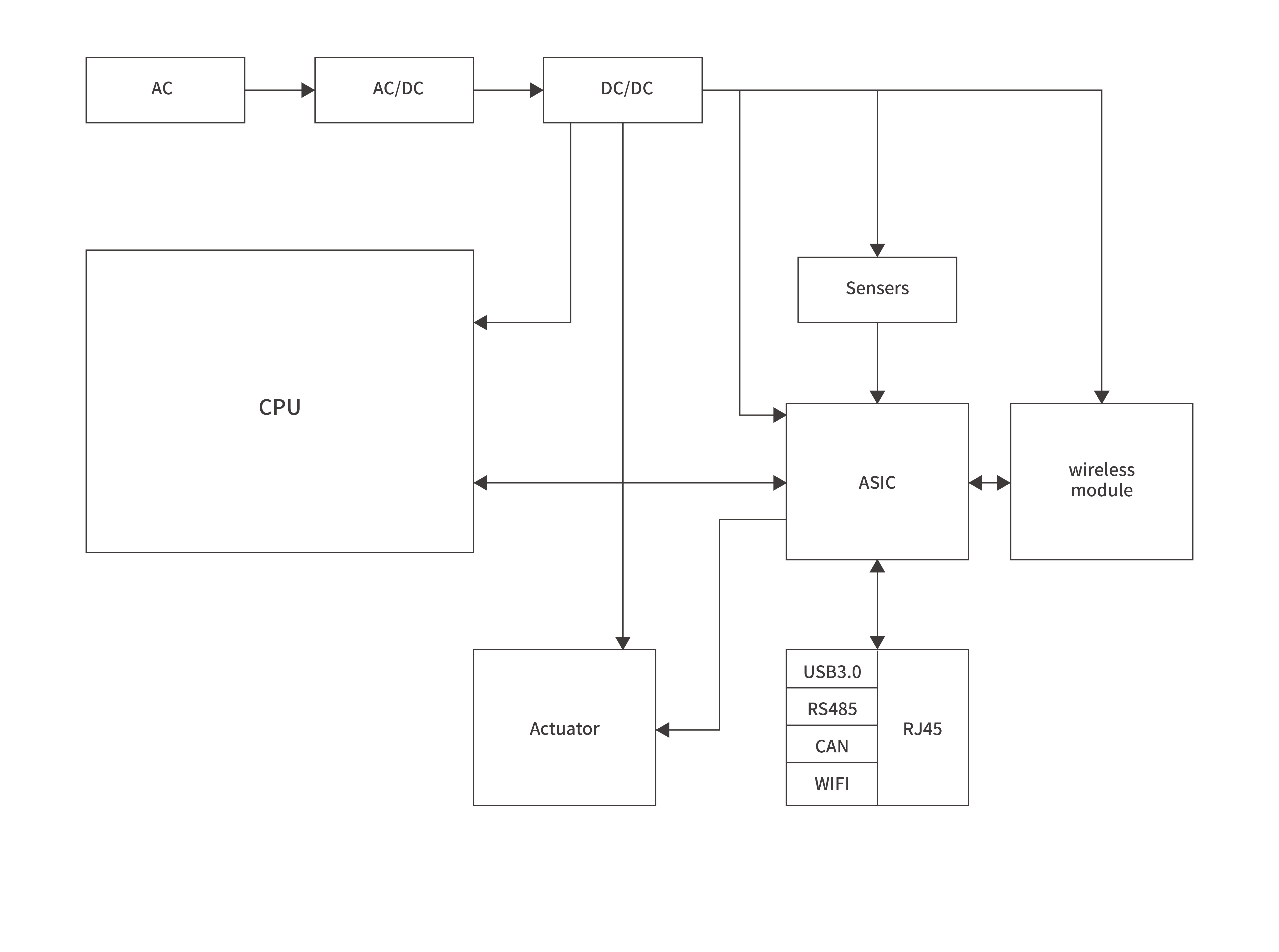
工业控制器 I/O系统

I/O 系统是工业控制器与生产现场之间的物理接口,负责采集传感器信号并驱动执行机构。针对工业现场频繁出现的电感性负载切换浪涌、高压静电放电(ESD)以及因长距离布线引起的接地环路干扰,我们提供了多通道集成式保护与数字隔离/电平转换方案。这些方案在确保微秒级高速逻辑响应的同时,有效隔离了外部高压尖峰对中央处理器(CPU)的冲击,即使在强磁场或严苛的电磁骚扰环境下,也能保障模拟量与开关量数据传输的绝对准确与系统运行的长期稳定性。

应用框图
查找适用于您系统的产品和参考设计
工业控制器 I/O系统应用框图

产品

技术文档

Gdt 气体放电管 (2)

2R600L-5.5×6

-- 2R600L-5.5×6:双电极、600V、5kA、≤1pF 气体放电管 (GDT),用于通信与电源保护

2R600L-8×6

-- 双电极、600V、10kA、≤1pF 气体放电管 (GDT),用于通信与电源保护

Mov 压敏电阻 (2)

Gdt 气体放电管 (2)

2R090L-5.5×6

-- 双电极、90V、5kA、≤1pF 气体放电管 (GDT),用于通信与电源保护

2R090L-8×6

-- 双电极、90V、10kA、≤1pF 气体放电管 (GDT),用于通信与电源保护

Mov 压敏电阻 (1)

Tvs 瞬态抑制二极管 (2)

Common mode inductor 共模滤波电感 (1)

Esd 静电保护元件 (2)

ESDLC5V0D8B

-- 双向 3.5 pF、5 V、±25 kV ESD 保护二极管,采用超小型 DFN1006 封装

ESD0524P

-- 用于超高速接口的 4 通道、0.35pF、±15kV 静电保护 ESD 保护二极管阵列

Tvs 瞬态抑制二极管 (1)

Common mode inductor 共模滤波电感 (1)

Esd 静电保护元件 (1)

ESD5V0APB

-- 具有 ±30kV ESD 保护功能的汽车级、双通道、5V 低电容瞬态电压抑制 (TVS) 二极管阵列

Tvs 瞬态抑制二极管 (1)

Common mode inductor 共模滤波电感 (1)

Esd 静电保护元件 (1)

ESD24VAPB

-- 具有 ±30kV ESD 保护功能的汽车级、双通道、24V CAN 总线瞬态电压抑制 (TVS) 二极管阵列

Common mode inductor 共模滤波电感 (1)

Esd 静电保护元件 (1)

NRESDTLC5V0D8B

-- 双向 0.6 pF、5 V、±20 kV ESD 保护二极管,采用超小型 DFN1006 封装

Gdt 气体放电管 (3)

3R090L-5×7.6

-- 90V、≤1pF、5kA 三电极气体放电管,专为通信线路和数据接口提供高能量浪涌与雷击防护,适合对低电容和高可靠性有要求的应用场景。

3R090L-6×8

-- 90V、≤1pF、10kA 三电极气体放电管(GDT),适用于通信线路、宽带设备及低压信号接口的浪涌、雷击和瞬态过电压保护

3R090L-8×10

-- 90V、≤1pF、10kA 三电极气体放电管(GDT),适用于通信线路、宽带设备及低压信号接口的浪涌、雷击和瞬态过电压保护

Esd 静电保护元件 (1)